Salta ai contenuti.Salta alla navigazione

Dal 9 dicembre 2025 al 12 gennaio 2026 compresi non sarà possibile effettuare acquisti sul nostro sito web. Potrete tornare a fare i vostri acquisti online dal 13 gennaio 2026.

Dal 9 dicembre 2025 al 12 gennaio 2026 compresi non sarà possibile effettuare acquisti sul nostro sito web. Potrete tornare a fare i vostri acquisti online dal 13 gennaio 2026.

199010 MONTE FIGAROLA

MONTE FIGAROLA
10.0 NETTO IVA 22.0%
  • Disponibilita'
  • Accedi al sito per procedere con l'acquisto
Punti trigonometrici scheda descrittiva
Le schede monografiche dei punti trigonometrici non sono visibili poiche' al momento e' in corso la loro digitalizzazione: prima di acquistare il punto si consiglia di contattare l'archivio geodetico per avere maggiori informazioni
199010     MONTE FIGAROLA
Cartografia Serie 25 489 sez II Laurenzana
Serie 25V 199 IINE Calvello
Localizzazione
Nazione ITALIA
Regione BASILICATA
Provincia POTENZA
Comune CALVELLO
Carabinieri CALVELLO
Coordinate Attenzione Le coordinate geografiche sono in gradi sessagesimali approssimate al secondo. Le coordinate piane e le quote sono espresse in metri con cifre significative fino al decametro.
ROMA40   ETRF2000   Quote
Φ 40° 29' 17"   Φ 40° 29' 20"   s.l.m. 1110
λ 03° 25' 32"   λ 15° 52' 40"   Quote ellisoidica  
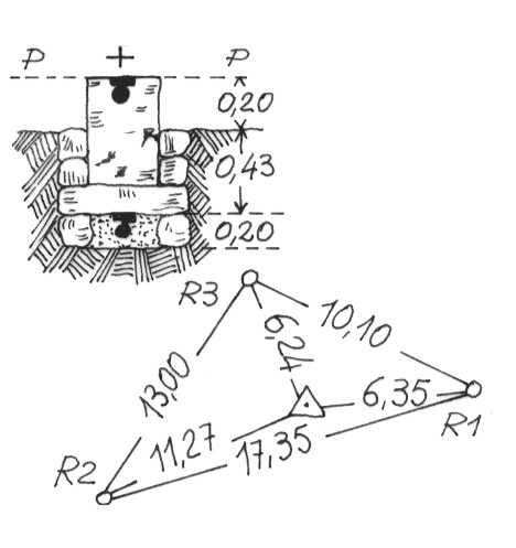
Materializzazione Segnale sulla sommità del monte. Centrino di fondo e centrino di superficie coassiale, cementato su pietra sporgente. Entrambi di vetro. Riferimenti: R1, R2, R3 centrini metallici.
Accesso
Informazioni Ausiliare
Produttore IGM
Segnalizzato 1894
Modalita':  Vertici trigonometrici di certa definizione
Immagini:




Monografia
(Clicca sulle immagini per ingrandire)
Message