Salta ai contenuti.Salta alla navigazione

Dal 9 dicembre 2025 al 12 gennaio 2026 compresi non sarà possibile effettuare acquisti sul nostro sito web. Potrete tornare a fare i vostri acquisti online dal 13 gennaio 2026.

Dal 9 dicembre 2025 al 12 gennaio 2026 compresi non sarà possibile effettuare acquisti sul nostro sito web. Potrete tornare a fare i vostri acquisti online dal 13 gennaio 2026.

030103 BERTAGNINA CHIESA DI SAN CARLO

BERTAGNINA CHIESA DI SAN CARLO
10.0 NETTO IVA 22.0%
  • Disponibilita'
  • Accedi al sito per procedere con l'acquisto
Punti trigonometrici scheda descrittiva
Le schede monografiche dei punti trigonometrici non sono visibili poiche' al momento e' in corso la loro digitalizzazione: prima di acquistare il punto si consiglia di contattare l'archivio geodetico per avere maggiori informazioni
030103     BERTAGNINA CHIESA DI SAN CARLO
Cartografia Serie 25 094 sez IV Gozzano
Serie 25V 030 IISE Gozzano
Localizzazione
Nazione ITALIA
Regione PIEMONTE
Provincia VERCELLI
Comune VALDUGGIA
Carabinieri BORGOSESIA
Coordinate Attenzione Le coordinate geografiche sono in gradi sessagesimali approssimate al secondo. Le coordinate piane e le quote sono espresse in metri con cifre significative fino al decametro.
ROMA40   ETRF2000   Quote
Φ 45° 44' 11"   Φ 45° 44' 13"   s.l.m. 700
λ -04° 05' 31"   λ 08° 21' 36"   Quote ellisoidica  
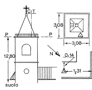
Materializzazione Campanile della chiesa di San Carlo nel comune di Valduggia ( Fraz. Bertagnina). Centrino di fondo cementato tra due pietre del pavimento del cornicione alla base della guglia. (GPS).
Accesso Da Pogno si procede a sud per Valduggia, dopo circa 3,5 km si giunge in località Strona; circa 150 mt. prima di una galleria si imbocca a nord una stradina che passando sopra alla galleria porta alla chiesa.
Informazioni Ausiliare
Produttore IGM
Segnalizzato 1989
Modalita':  Vertici trigonometrici di certa definizione
Immagini:




Monografia Foto 1 Foto2
(Clicca sulle immagini per ingrandire)
Message