Salta ai contenuti.Salta alla navigazione

Dal 9 dicembre 2025 al 12 gennaio 2026 compresi non sarà possibile effettuare acquisti sul nostro sito web. Potrete tornare a fare i vostri acquisti online dal 13 gennaio 2026.

Dal 9 dicembre 2025 al 12 gennaio 2026 compresi non sarà possibile effettuare acquisti sul nostro sito web. Potrete tornare a fare i vostri acquisti online dal 13 gennaio 2026.

108280 MONTE CASTELSAVINO

MONTE CASTELSAVINO
10.0 NETTO IVA 22.0%
  • Disponibilita'
  • Accedi al sito per procedere con l'acquisto
Punti trigonometrici scheda descrittiva
Le schede monografiche dei punti trigonometrici non sono visibili poiche' al momento e' in corso la loro digitalizzazione: prima di acquistare il punto si consiglia di contattare l'archivio geodetico per avere maggiori informazioni
108280     MONTE CASTELSAVINO
Cartografia Serie 25 277 sez I Badìa Prataglia
Serie 25V 108 IIISO Pieve S. Stefano
Localizzazione
Nazione ITALIA
Regione TOSCANA
Provincia AREZZO
Comune PIEVE SANTO STEFANO
Carabinieri CHIUSI DELLA VERNA
Coordinate Attenzione Le coordinate geografiche sono in gradi sessagesimali approssimate al secondo. Le coordinate piane e le quote sono espresse in metri con cifre significative fino al decametro.
ROMA40   ETRF2000   Quote
Φ 43° 43' 38"   Φ 43° 43' 41"   s.l.m. 1240
λ -00° 28' 11"   λ 11° 58' 57"   Quote ellisoidica  
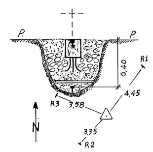
Materializzazione Segnale in prossimità della cima del monte sul versante N.E.. Centrino di fondo con sovrastante pilastrino con centrino alla sommità coassiali. Riferimenti: 3 picchetti di ferro a T.
Accesso Dal paese di Montalone sulla S.S. 208 per rotabile sterrata fino al P.so delle Pratelle quindi a dx per un sentiero in circa 20 min. di cammino fino al punto.
Informazioni Ausiliare (1992) Si giunge al punto in AR.
Produttore IGM
Segnalizzato 1987
Modalita':  Vertici trigonometrici di certa definizione
Immagini:




Monografia Foto 1
(Clicca sulle immagini per ingrandire)
Message